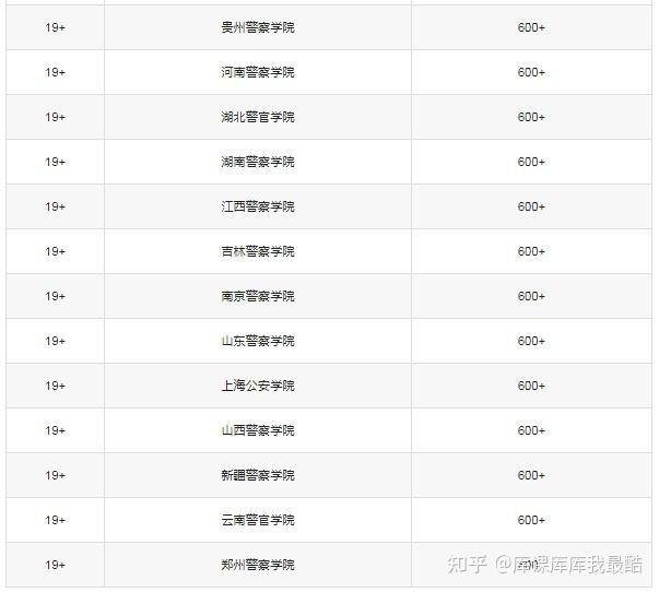
2024排名靠前的政法类院校有:中国政法大学、西南政法大学、华东政法大学、中国人民公安大学、上海政法学院等;全国前50强政法大学录取分数线从299分到621分,其中500分能上的是吉林警察学院(492分),完整表格如下。
国内最好的政法大学排名是一个相对主观的问题,因为不同的评价体系和侧重点会得出不同的结果。然而,根据多个权威来源的信息,我们可以整理出一份较为公认的排名。以下是国内政法大学排名的一些主要观点,结合了多个权威榜单和机构的评价:


国内政法大学排名概览
中国政法大学
排名位置:多个榜单中均位列前茅,特别是法学专业领域内享有极高声誉。
院校特点:作为“中国法学教育的最高学府”之一,中国政法大学是211工程及985工程优势学科创新平台高校,法学专业在教育部学科评估中表现优异。
华东政法大学
排名位置:紧随中国政法大学之后,是全国知名的政法类高校。
院校特点:位于上海市,法学学科实力强劲,同时兼有其他多学科协调发展,是教育部首批卓越法律人才教育培养基地。
西南政法大学
排名位置:在多个政法类高校排名中占据重要地位。
院校特点:位于重庆市,是新中国最早建立的政法类高等院校之一,法学教育历史悠久,学科体系完善。
中国人民公安大学
排名位置:作为公安行业的综合性大学,在政法类高校中也有显著地位。
院校特点:已入选国家双一流建设高校,是公安教育领域的重要学府,拥有多个公安相关学科的硕士学位和博士学位授权点。
西北政法大学
排名位置:在政法类高校中排名靠前,特别是在西部地区享有较高声誉。
院校特点:位于陕西省西安市,法学特色鲜明,同时涵盖哲学、经济、管理、文学等多学科,是陕西省省属高水平大学。
其他优秀政法类高校
除了上述五所高校外,还有如上海政法学院、中国刑事警察学院、中国人民警察大学、中国劳动关系学院、浙江警察学院等高校在政法类领域也具有较高的声誉和实力。这些高校在各自的领域内都有显著的优势和特色,为社会培养了大量优秀的政法人才。
排名依据与注意事项
需要注意的是,不同的排名机构和方法可能会得出不同的排名结果。因此,在查看政法大学排名时,应关注排名机构的权威性、评价体系的科学性以及数据的时效性等因素。同时,也应结合自身兴趣和职业规划等因素来选择合适的院校和专业。
综上所述,国内最好的政法大学排名是一个相对复杂的问题,需要综合考虑多个方面的因素。但无论如何,上述提到的高校都是国内政法教育领域的佼佼者,值得广大考生和家长关注。
政法大学录取分数线前50强

本文来自于知乎作者:库课库库我最酷,仅代表原作者个人观点。本站旨在传播优质文章,无商业用途。如不想在本站展示可联系删除
本文来自于网络或用户投稿,本站仅供信息存储,阅读前请先查看【免责声明】,若本文侵犯了原著者的合法权益,可联系我们进行处理。本文链接:https://www.trustany.com/edu/1748.html